ОКАТЫШИ КАРБИДА КРЕМНИЯ
Технические условия
ТУ 398900 – 001 – 13722083-2003
Срок действия с 01 января 2004 г.
Настоящие технические условия распространяются на окатыши карбида кремния для металлургической промышленности, в дальнейшем окатыши карбида кремния.
Пример условного обозначения:
Окатыши карбида кремния с содержанием SiC не менее 70 %
ОКК-70 ТУ 398900-001-13722083-2003
Окатыши карбида кремния с содержанием SiC не менее 80 %
ОКК-80 ТУ 398900-001-13722083-2003
Окатыши карбида кремния с содержанием SiC не менее 88%
ОКК-90 ТУ398900-001-13722083-2003
1.Технические требования
1.1.Окатыши карбида кремния должны соответствовать требованиям настоящих технических условий и технологической документации, утвержденной в установленном порядке.
1.2. Характеристики
1.2.1.Химический состав окатышей карбида кремния должен соответствовать указанному в таблице 1.
Таблица 1
Наименование показателей |
Содержание, % |
Марка ОКК |
Влажность |
ОКК – 70 |
ОКК - 80 |
ОКК -90 |
Карбид кремния
Оксид кремния
Кремний свобод
Углерод
Оксид железа
|
От 70- до80
10-14
1,3-2,8
3,9-9,5
0,9-2,8
|
От 80 до 88
9-12
0,8-2,3
3,9-8,0
0,8-2,0
|
88 и более
3-10
0,1-1,3
3,0-6,0
0,005-1,5 |
Не более
1,5 % |
Примечания:
1.Значения C ; Si ; SiO 2 ; Fe 2 O 3 справочные и не контролируются;
2.Фракционный состав в диапазоне: 5-50 мм
3. Учитывая высокую абразивность карбида кремния, в процессе транспортировки окатышей карбида кремния допустимо образование пыли в количестве н.б. 6%.
1.3. Упаковка
1.3.1. Окатыши карбида кремния должны упаковываться в мягкие контейнеры типа «БИГ-БЕГ» с полиэтиленовым вкладышем (с толщиной плёнки 150 мкм)
1.4. Маркировка
1.4.1. На каждом контейнере должно быть указано:
- товарный знак или наименование предприятия изготовителя;
- условное обозначение и обозначение нормативного документа;
- номер партии;
- масса нетто.
2. Правила приёмки
2.1. Для контроля соответствия окатышей карбида кремния требованиям настоящих технических условий проводят приёмочный контроль.
2.2.Приёмочному контролю на соответствие требованиям п 1.2.1. и
п 1.3.1. должны подвергаться пробы каждой партии окатышей карбида кремния
2.2.1. Партией считается количество окатышей карбида кремния, предъявленного по одному документу.
2.3. Если при приемочном контроле будет установлено несоответствие требованиям технических условий более чем по одному из контролируемых параметров, то партию не принимают.
2.3.1. Если установлено несоответствие требованиям технических условий по одному из контролируемых параметров, то проводят повторный контроль на удвоенном количестве проб.
При несоответствии требованиям технических условий в повторной выборке партию не принимают.
3. Методы контроля
3.1. Отбор пробы Отбор проб, подготовка для химического анализа и определения содержания влаги производится ручным способом (приложение1) совком или щупом, выполненными в соответствии с приложением 2.
Из партии набирается не менее 4 кг материала. Затем эта проба материала сокращается до 1 кг и передается в лабораторию для проведения химического анализа и гравиметрического определения влажности.
3.2.Измельчение, размол и сокращение пробы.
Поступившую на химический анализ пробу окатышей карбида кремния делят на две части. Одну часть пробы хранят на случай арбитражного анализа 3 месяца. Вторую часть пробы массой 0,5 кг измельчают до размера частиц не более 1 мм и сокращают квартованием до 100 г
3.3.Метод определения массовой доли влаги в окатышах карбида кремния.
3.3.1.Общие требования к методам химического анализа по ГОСТ 26327-84.
3.3.2.Нормы точности измерений массовой доли влаги при доверительной вероятности Р=0,95, не должны превышать пределов, равных + 0,25%.
3.3.3 .Метод измерений
Метод основан на определении разности между массой пробы взятой на определение и оставшейся массой после высушивания пробы при температуре 105-110 0С до постоянного веса.
3.3.4.Средства измерений, аппаратура, реактивы и растворы:
- весы аналитические лабораторные с дискретностью 0,0001 г;
- сушильный шкаф типа СНОЛ;
- сито по ГОСТ 6613-86 с диаметром ячейки 1 мм;
- ступка фарфоровая с пестиком ГОСТ9147-80;
- стаканчики для взвешивания (бюксы) стеклянные ГОСТ 25336-82;
- хлористый кальций безводный (гидрофиллит) ГОСТ 450
3.3.5. Выполнение измерений.
1,5 – 5,0 г пробы, взятой с точностью +0,00025г, помещают в доведённый до постоянного веса и взвешенный с той же точностью бюкс и высушивают при t = 105-110 0С до постоянной массы.
По результатам взвешивания рассчитывается влага в материале по формуле:
W= (m 1-m 2)*100 / m
W - влага в материале, %
m - масса пробы окатышей карбида кремния, г
m 1 – масса бюкса с пробой до высушивания, г
m 2 – масса бюкса с пробой, доведенного до постоянного веса, г
100 – коэффициент пересчета в %
3.3.6. Контроль точности измерения.
За окончательный результат принимают среднее арифметическое двух параллельных измерений. Прецизионность в условиях сходимости должна удовлетворять следующее условие: Х 1- Х 2 < d = 0,1%,
где Х 1 иХ 2 – результаты параллельных определений
3.4. Метод определения массовой доли карбида кремния в окатышах карбида кремния.
3.4.1.Общие требования к методам химического анализа по ГОСТ 26327-84
3.4.2.Нормы точности измерений при доверительной вероятности Р=0,95, не должно превышать + 0,3%.
3.4.3.Метод измерений
Метод основан на определении массы остатка после удаления всех примесей с поверхности зерна карбида кремния (при массовой доле SiC 70-99 %) обработкой смесью трех кислот: фтористоводородной, азотной и серной с последующим кипячением в соляной кислоте и прокаливанием при температуре 710-730 0С.
3.4.4.Средства измерений, аппаратура, реактивы и растворы:
- весы лабораторные с набором гирь, дискретность 0,0001 г.;
- электрическая плитка с закрытой спиралью ГОСТ 14919;
- электрическая печь типа СНОЛ, или подобная, с терморегулятором, обеспечивающая температуру нагрева (730 + 20) 0С;
- тигли фарфоровые, ГОСТ 9147;
- эксикатор, ГОСТ 25336-82;
- осушитель: хлорид кальция, ГОСТ 450;
- чашки платиновые, ГОСТ 6563-75 №118-4 , 118-5, или №120-4, 120-5
- щипцы с платиновыми наконечниками;
- посуда лабораторная (стаканы, колбы, воронки), ГОСТ 23932;
- лабораторная измерительная посуда (мерные колбы, бюретки, пипетки), ГОСТ 1770, ГОСТ 20292;
- фильтры «синяя лента»;
- вода дистиллированная, ГОСТ6709;
- кислота фтористоводородная (плавиковая), ГОСТ 10484, раствор с массовой долей 40%;
- кислота азотная, ГОСТ 4461;
- кислота серная, ГОСТ 4204;
- кислота соляная, ГОСТ 3118;
- аммония роданид, ГОСТ 19522, раствор с массовой долей 5%;
3.4.5. Выполнение измерений.
После измельчения пробы до прохождения ее через сито с размером ячейки 0,16 мм, ее тщательно отмагничивают.
Навеску измельченной, высушенной и отмагниченной пробы массой около 1 г, взвешенной с погрешностью не более + 0,00025 г, помещают в чашку из платины или стеклоуглерода, взвешенную с той же погрешностью, смачивают 3 см 3 дистиллированной воды и приливают 10 см 3 плавиковой, 11см 3 азотной и 0,6см 3 серной кислот. Выпаривают содержимое для удаления фтористоводородной (плавиковой) кислоты, затем прокаливают на электрической плитке до прекращения выделения белых паров серного ангидрида. Затем чашку снимают с плитки, прибавляют 50-60 см 3 раствора соляной кислоты (1:5) и нагревают, не доводя до кипения, в течение 10-15 мин.
Раствор фильтруют через фильтр « синяя лента » в мерную колбу вместимостью 250 см 3.
Приставшие к стенкам платиновой чашки частицы карбида кремния тщательно смывают теплым разбавленным раствором соляной кислоты (2:100) в фильтр.
Осадок на фильтре промывают разбавленным раствором соляной кислоты (2:100) до отсутствия в промывных водах ионов железа (проба с роданидом аммония), а затем 5 раз дистиллированной водой.
Фильтр с нерастворенным осадком помещают во взвешенный с погрешностью не более + 0,00025 г, фарфоровый тигель, подсушивают, обугливают и прокаливают в муфельной печи при температуре 710-730 0С в течение 1 часа. Доводят массу тигля до постоянного веса повторными прокаливаниями по 20 мин.
3.3.6.Вычисление результатов измерений.
Массовую долю карбида кремния (Х SiC ) в процентах вычисляют по формуле:
( m 1 – m 2 )*100
Х( SiC ) = ---------------- , где
m
m 1 – вес тигля с остатком, г
m 2 – вес пустого тигля, г
m – вес навески
100- коэффициент для пересчета в %
3.4.7.Контроль точности измерений.
За окончательный результат принимают среднее арифметическое двух параллельных измерений.
Прецизионность в условиях сходимости ( d ) должна удовлетворять условию: Х 1 – Х 2 < d = 0,4 ; где
Х 1 и Х 2 – результаты параллельных определений
Допускаемая погрешность измерения ( + r ) массовой доли карбида кремния составляет + 0,3 %.
Результат измерений должен быть записан в форме: Х + r , %.
4.Транспортирование и хранение.
4.1.Транспортирование осуществляется крытым и открытым железнодорожным, автомобильным или водным транспортом в мягких контейнерах с обеспечением защиты от атмосферных осадков.
4.2.Окатыши карбида кремния должны храниться в крытых не отапливаемых складах.
4.3.Срок хранения окатышей карбида кремния не ограничен.
Ссылочные нормативные документы
- ГОСТ 3118-77 «Кислота соляная. Технические условия».
- ГОСТ 4204-77 «Кислота серная. Технические условия».
- ГОСТ 4461-77 «Кислота азотная. Технические условия».
- ГОСТ 19522-74 «Аммоний роданистый технический. Технические условия» ГОСТ 10484
- ГОСТ 10484 «Кислота фтористоводородная. Технические условия».
- ГОСТ 6613-86 «Сетки проволочные тканые с квадратными ячейками. Технические условия».
- ГОСТ 6563-75 «Изделия технические из благородных металлов и сплавов. Технические условия».
- ГОСТ 9147-80 «Посуда и оборудование лабораторные фарфоровые. Технические условия».
- ГОСТ 25336-82 «Посуда и оборудование лабораторные стеклянные. Типы, основные параметры и размеры».
- ГОСТ 26327-84 «Материалы шлифовальные из карбида кремния. Технические условия».
- ТУ 3989-026-00220931-01 «Карбид кремния для металлургического производства. Технические условия».
- ГОСТ 2.114-95 «Единая система конструкторской документации. Технические условия».
- ГОСТ 26327-84 «Общие требования к методам химического анализа».
ПРИЛОЖЕНИЕ 1
Метод отбора и подготовки проб окатышей карбида кремния для химического анализа и определения содержания влаги
Применяемое оборудование и материалы:
молоток массой 0,2-0,4 кг;
лист из нержавеющей стали или пластика;
совок или щуп ( приложение2)
Определение размера гранул окатышей карбида кремния осуществляется визуально.
Из 10% произвольно выбранных мешков каждой партии отбираются совком или щупом точечные пробы около 1 килограмма каждая и объединяются . Окатыши карбида кремния превышающие 25 мм измельчаются молотком с массой 0,2-0,4 кг до размера 15-25 мм .Вся проба
тщательно перемешивается, разравнивается по поверхности листа из стали
в один слой и сокращается методом квартования. Сокращенная проба измельчается вторично до размера частиц 5-10 мм, перемешивается и сокращается квартованием приблизительно до 4 килограмм. Из неё методом
«конверта» отбирается 1 килограмм материала, тщательно пакуется в полиэтиленовый мешок и снабжается этикеткой. В этикетке указывается : наименование ,партия ,дата и время отбора пробы, пробоотборщик. В лабораторию проба должна быть доставлена в течение 8 часов.
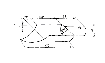
ПРИЛОЖЕНИЕ 2
Справочное
Совок для отбора точечных проб

Размер максимального куска, мм |
Минимальная масса пробы, кг |
Размер совка, мм |
a |
b |
c |
d |
e |
1.0 |
0,1 |
50 |
30 |
40 |
40 |
20 |
10 |
0,3 |
60 |
35 |
60 |
50 |
35 |
20 |
0,8 |
80 |
45 |
80 |
70 |
35 |
50 |
1,0 |
150 |
40 |
110 |
130 |
50 |
Св. 50 |
4,0 |
150 |
75 |
150 |
130 |
65 |
>> 100 |
8,0 |
250 |
110 |
250 |
220 |
100 |
Щуп для отбора точечных проб

|